洋碼頭于近日完成數億元D+輪融資
金融界網3月9日消息 從知情人士處獲悉,跨境電商獨角獸企業洋碼頭于近日完成數億元的D+輪融資,由盛世投資直投。
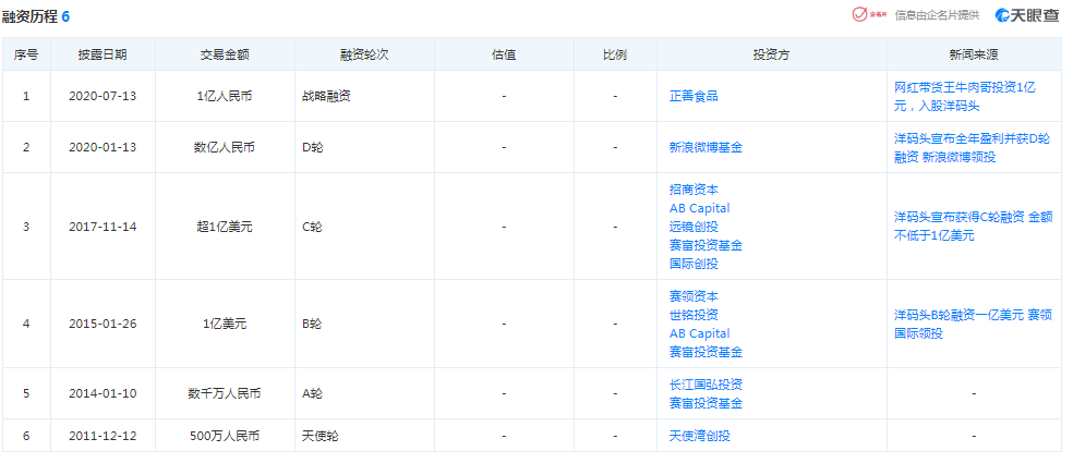
天眼查APP顯示,洋碼頭成立于2009年,是國內最大的獨立跨境購物電商平臺。2014年至2020年,洋碼頭已獲多輪融資,投資方包括賽富基金、賽領資本、招商資本、新浪微博以及明星Angelababy等。盛世投資是國內最大的股權母基金管理機構,目前已成功完成了對聯想投資、松禾資本、啟明創投、九鼎投資(行情600053,診股)等上百只基金的投資。

洋碼頭融資歷程
鄭重聲明:用戶在發表的所有信息(包括但不限于文字、圖片、視頻、音頻、數據及圖表)僅代表個人觀點,與股民學堂立場無關,所發表內容來源為用戶整理發布,本站對這些信息的準確性和完整性不作任何保證,不對您構成任何投資建議,據此操作風險自擔。
- 上一篇:全球“缺芯潮”蔓延:代工廠24小時滿載運轉,客戶競標價格飆升
- 下一篇:沒有了
